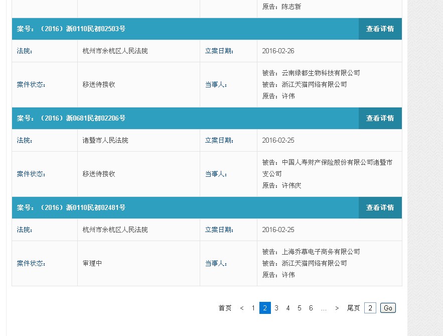
这个人之前在我店里先后隔了20天分两次大批量采购茶树精油,后来我接到所谓的调解员电话,说同不同意调解方案(就是赔钱),不同意就起诉。理由是茶树精油(化妆品)不能宣传杀菌功效(但大家都知道茶树精油的杀菌功效是常识,我也查询了很多专业学术报告,均表明茶树精油有杀菌作用)。我上法院网站查了一下此人名字。吓了一跳。
天猫新广告法投诉人:许伟,大家注意这个家伙!!!
短短一个月不到。。这个人就起诉了十多家公司,,这还不算那些不愿闹大花钱了事的。!!!!!
希望大家以此为戒。不要在被盯上了@!!!!!也恳请天猫防范这类专职的人。
查看更多相似文章



老卖家实战分享拼多多从零到日销几千单的操作全流程
抖音小游戏如何充值?抖音小游戏看广告赚钱怎么做
抖音小店介绍管理在哪里看?抖音小店介绍在哪里找
抖音客户差评怎么删掉?抖音客户电话
抖音客户差评在哪里看?抖音客户怎么找
抖音买东西怎么备注?抖音买东西备注在哪里


苏公网安备 32021302000583号